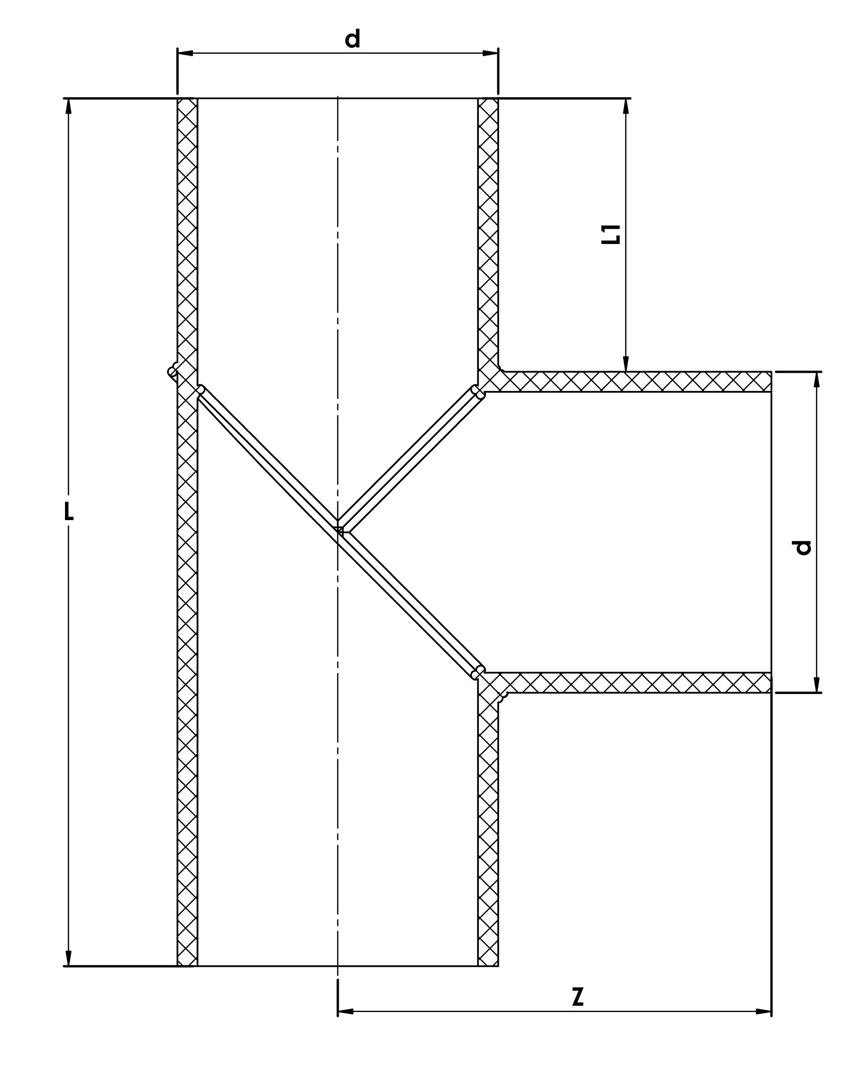
EQUAL TEE SEGMENTED SDR11 PE100-RC

METRIC-SIZED PRODUCTS

SPIGOT FITTINGS

  WATER: 16 BAR

d CODE Kg. L (mm) L1 (mm) Z (mm
355 03211110000003550000 47,00 960 300 480
400 03211110000004000000 62,00 1000 300 500
450 03211110000004500000 83,00 1050 300 525
500 03211110000005000000 116,00 1200 350 600
560 03211110000005600000 153,00 1260 350 630
630 03211110000006300000 204,00 1330 350 665
710 03211110000007100000 286,00 1410 350 705
800 03211110000008000000 305,00 1500 350 750